技術領域
本實用新型涉及機械行業中的一種流量測量計,尤其是涉及一種測量精確的電磁流量計。
背景技術
電磁流量計是根據法拉第電磁感應定律進行流量測量的流量計。電磁流量計的優點是壓損極小,可測流量范圍大,在導電液體周圍設置磁場,導電液體流動在磁場中切割磁感應線,產生與液體流速呈正比的感應電勢,其感應電勢信號通過與液體直接接觸的信號電極直接測量出,通過線纜傳遞給轉換器,之后進行處理器進行信號處理,實現液體瞬時流量、累積流量的顯示以及流量數據與電腦系統之間的通訊控制。目前,經常使用的流量計在滿管的情況下,測量非常準確,當液體流量在非滿管的情況下,就無法測量出精確的流量值,而目前對于非滿管的情況只有少量的流量計可以選用,但是其結構交復雜,不易加工和裝配,成本較高。
發明內容
本實用新型所要解決的技術問題是提供一種測量精確的電磁流量計,它能夠在非滿管的狀態下精確測量,并且其結構簡單,在加工和裝配方面方便快捷,降低其生產成本。
本實用新型解決其技術問題所采取的技術方案是:一種測量精確的電磁流量計,包括測量導管,在測量導管的外部設有勵磁線圈,在勵磁線圈的外部設有保護外殼,所述的測量導管上設有信號電極,信號電極與信號轉換器連接,信號轉換器連接智能處理器,所述的測量導管外側設有一導管,該導管的兩個接頭分別連接在測量導管徑向的zui高點和zui低點并且與測量導管連通,所述的導管內部設有一浮子,所述的浮子以及導管上設有用于測量浮子高度的高度測量器,高度測量器與智能處理器連接。
進一步具體的,所述的導管中間部分與測量導管軸向垂直,導管的兩個接頭與測量導管的連接處順著水流方向傾斜。
進一步具體的,所述的傾斜角度為15°或者30°。
進一步具體的,所述的測量導管的內壁上設有絕緣襯里。
本實用新型的有益效果是:采用了上述結構之后,通過信號電極測量出磁場變化之后通過信號轉換器將測量的信號送至智能處理器:通過高度測量器測量出浮子的高度將高度信號傳遞給智能處理器:智能處理器將接收到的磁場變化信號以及高度信號綜合處理,得出精確的流量信息值。
附圖說明
圖1是本實用新型的結構示意圖。

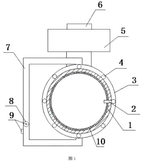
圖中:1、測量導管:2、信號電極:3、保護外殼:4、勵磁線圈:5、信號轉換器;6、智能處理器;7、導管;8、浮子;9、高度測量器;10、絕緣襯里。
具體實施方式
下面結合附圖對本實用新型作詳細描述。
如圖1所示一種測量精確的電磁流量計,包括測量導管1,在測量導管1的外部設有勵磁線圈4,在勵磁線圈4的外部設有保護外殼3,所述的測量導管1上設有信號電極2,信號電極2與信號轉換器5連接,信號轉換器5連接智能處理器6,所述的測量導管1外側設有一導管7,該導管7的兩個接頭分別連接在測量導管1徑向的zui高點和zui低點并且與測量導管1連通,所述的導管7內部設有一浮子8,所述的浮子8以及導管7上設有用于測量浮子8高度的高度測量器9,高度測量器9與智能處理器6連接:所述的導管7中間部分與測量導管1軸向垂直,導管7的兩個接頭與測量導管1的連接處順著水流方向傾斜:所述的傾斜角度為15°或者30°:所述的測量導管1的內壁上設有絕緣襯里10。
首先,勵磁線圈4通電使得測量導管1內的空間位于磁場內,導電液體從測量導管1內流過切磁感應線,信號電極2感應到磁感應線的變化將這種變化通過線纜傳遞給信號轉換器5,信號轉換器5將收到的信號增強并且轉換成統一的標準信號傳遞給智能處理器6,同時,導電液體也會流入到導管7內,導管7內的液體推動浮子8升起,若導電液體在測量導管1內為非滿管,浮子8升起的高度不一,通過高度測量器9測量浮子8的高度,將高度信號傳遞給智能處理器6,智能處理器6將磁感應線變化信號和高度信號綜合處理之后,能夠得出真實的流量值,整個結構簡單,操作方便。
高度測量器9可以通過在導管7以及浮子8上分別設置信號發射接收器來確定其高度。在放置浮子8的導管7內部有可以防止浮子8進入測量導管1的凸臺。
需要強調的是:以上僅是本實用新型的較佳實施例而已,并非對本實用新型作任何形式上的限制,凡是依據本實用新型的技術實質對以上實施例所作的任何簡單修改、等同變化與修飾,均仍屬于本實用新型技術方案的范圍內。
上一條:
淺談溫度對油品計量交接產生的影響
下一條:
質量流量計與渦街流量計優點缺點